新 Sunwin STH系列定型机-进步架 在 无锡市, 江苏省, 中国

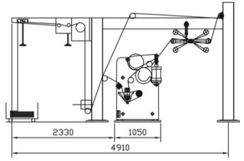
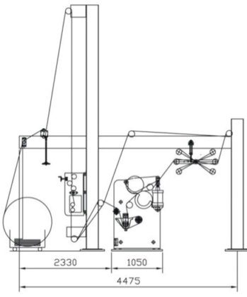
规格参数

新旧状况
产品编号
90492314

描述

针织
滑条式对中装置
不用高架入布相对低张力,适合一般针织布,氨纶布或其他带弹力布匹使用,此装置可配合整机同步调速,达到低张力对中效果。
梭织
垂直型装置

传统式对中装置,适合多类型布种,配合高架入布,无论宽布或窄布种也轻易张开,达到理想对中效果。
梭织+针织
复合型进布组合装置
多种穿布方式可为不同种类布种使用。

请向卖家询价

品牌
Sunwin
位置
🇨🇳 无锡市, 江苏省, 中国

对这台机器有兴趣吗?